PATENTE PARA NEGOCIAR

PATENTE PARA NEGOCIAR

location_on Andaluzja Hiszpania

Prosimy o uwagę:
Inwestowanie we wczesnofazowe przedsiębiorstwa wiąże się z ryzykiem, w tym z ograniczoną płynnością, brakiem dywidend, możliwością utraty zainwestowanych środków oraz rozwodnieniem udziałów. Powinno być ono realizowane wyłącznie jako część zdywersyfikowanego portfela. Platforma jest skierowana wyłącznie do inwestorów wystarczająco doświadczonych, aby zrozumieć te ryzyka i samodzielnie podejmować decyzje inwestycyjne. Zachęca się inwestorów do samodzielnej analizy i oceny inwestycji oraz do określenia, według własnego uznania, zasadności dokonania konkretnej inwestycji. Informacje zawarte na tej stronie mają wyłącznie charakter informacyjny; nie możemy jednak zagwarantować ich dokładności ani kompletności. Zdecydowanie zalecamy, aby inwestorzy przeprowadzili własne badanie due diligence z udziałem licencjonowanych specjalistów przed podjęciem jakiejkolwiek inwestycji. Nie udzielamy porad prawnych ani podatkowych.

Krótkie podsumowanie

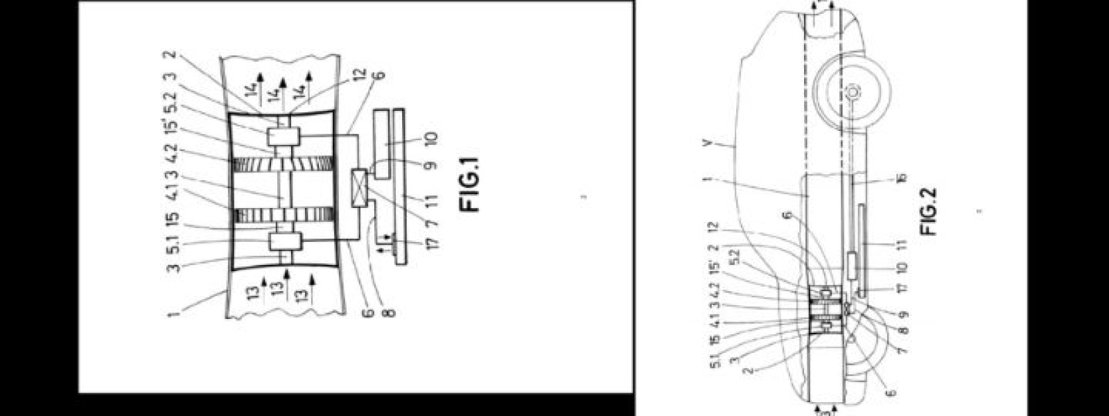
Vendo solicitud de patente la que durante 20 años se puede vender o contratar.
Otra opción: pagar el ICP 4.700€ para su publicación y protección en 156 países durante 31meses, +800€ último pago a OEPM para última revisión. Ganancia acuerdo contrato.

Najważniejsze punkty

  • No requiere una gran inversión
  • Se puede optar por aportar una cantidad y repartir beneficios
  • El negocio se basa en la contratación o venta
  • Se pueden generar muchas más patentes relacionadas
  • Posibilidad de crear la propia empresa esta generaría miles de millones

Przegląd

Cel PLN 20,000
Minimum PLN 20,000
Pozyskano inwestycję PLN 0
Poprzednie rundy PLN 0
Etap Pre-startup / Badania i rozwój
Rola inwestora Dowolny

Zadaj pytanie
Masz pytanie dotyczące tego projektu?

Podobne oferty

Loading…
Loading the web debug toolbar…
Attempt #